'
Каталог Запчастей John Deere :8430 Tractor (1974-1981) (Worldwide Edition) - PC1485 20 Двигатель
Содержимое: Каталог Запчастей John Deere :8430 Tractor (1974-1981) (Worldwide Edition) - PC1485 20 Двигатель
TORQ-GARD SUPREME AND PLUS-50 ENGINE OIL - ST427870 ( ТОРК-ГАРД ВЫСШЕГО И ПЛЮС - МОТОРНОЕ МАСЛО - )
Coolant Conditioner And Engine Part Lubricants - ST427872 ( Охлаждающей Жидкости Кондиционера И Часть Смазки Двигателя - )
Cylinder Head and Valves - ST427873 ( Головка блока цилиндров и клапаны - )
Cylinder Head and Valves - ST427874 ( Головка блока цилиндров и клапаны - )
Rocker Arm Cover And Ventilator Tube - ST427875 ( Коромысла Крышки И Вентилятора - )
Rocker Arms And Rocker Arm Shaft - ST427876 ( Коромысла И Ось Коромысел - )
Lift Straps - ST427877 ( Лифт Ремни - )
Camshaft And Gear - ST427878 ( Распредвал И Шестерни - )
Tachometer Drive - ST427879 ( Привод Тахометра - )
Cylinder Block, Fittings And Main Bearing Caps - ST427880 ( Блок Цилиндров, Штуцеров И Крышки Коренных Подшипников - )
Engine Short Block - ST427881 ( Двигатель Короткий Блок - )
Short Block Installation Kit - ST427882 ( Короткое Установочный Комплект Блок - )
Engine Oil Pump Intake (Late Design) - ST427883 ( Двигателя Впускной Масляный Насос (Последняя Конструкция) - )
Engine Oil Pump (Late Design) (Crankshaft Driven) - Continued - ST427884 ( Двигатель Масляного Насоса (Последняя Конструкция) (С Приводом От Коленчатого Вала) - Продолжение - )
Cylinder Block, Fittings And Main Bearing Caps - ST427885 ( Блок Цилиндров, Штуцеров И Крышки Коренных Подшипников - )
Replacement Cylinder Block, Fittings And Main Bearing Caps - ST427886 ( Замена Блока Цилиндров, Штуцеров И Крышки Коренных Подшипников - )
Engine Short Block (For Crankshaft Driven Oil Pump) - ST427887 ( Двигатель Короткий Блок (Для Загонной Коленвала, Масляного Насоса) - )
Engine Short Block (For Camshaft Driven Oil Pump) - ST427888 ( Двигатель Короткий Блок (Для Распр. Вал Масляного Насоса) - )
Oil Pan - ST427889 ( Масляный Поддон - )
Engine Oil Drain Line - ST427890 ( Двигатель Утечка Масла - )
Dipstick - ST427891 ( Щуп - )
Piston, Rings, Liners and Connecting Rods - ST427892 ( Поршень, кольца, вкладыши и шатуны - )
Piston, Rings, Liners and Connecting Rods - ST427893 ( Поршень, кольца, вкладыши и шатуны - )
Crankshaft (Early Design) - ST427894 ( Коленвала (Начало Проектирования) - )
Crankshaft (Late Design) - ST427895 ( Коленвала (Последняя Конструкция) - )
Flywheel & Clutch Shaft Pilot Bushing Adapter - ST427896 ( Маховик )
Crankshaft Pulley and Damper - ST427897 ( Шкив коленвала и демпфер - )
Main and Main thrust Bearings - ST427898 ( Основные и главные упорные подшипники - )
Crankshaft Oil Seal and Housing - ST427899 ( Уплотнение масла кривошина и жилищно - )
Timing Gear Cover And Oil Seal - ST427900 ( Передняя Крышка Шестерни И Сальник - )
Engine Oil Pump (Camshaft Driven) - ST427901 ( Двигатель Масляного Насоса (Приводной Вал) - )
Replacement Engine Oil Pump - ST427902 ( Замена Масляный Насос Двигателя )
Engine Oil Pump (Crankshaft Driven) (Early Design) - ST427903 ( Двигатель Масляного Насоса (Приводится Коленвалом) (Начало Проектирования) - )
Short Block Conversion Kit - ST427904 ( Короткий Набор Преобразования Блока )
Short Block Conversion Kit - ST427905 ( Короткий Набор Преобразования Блока )
Engine Oil Cooler Bypass Valve (Early Design) - ST427906 ( Охладитель Моторного Масла Перепускной Клапан (Начало Проектирования) - )
Oil Cooler Bypass Valve - ST427907 ( Масляный Радиатор Перепускной Клапан - )
Engine Oil Filter - ST427908 ( Масляный Фильтр Двигателя - )
Engine Oil Cooler - ST427910 ( Охладитель Моторного Масла - )
Water Pump - ST427911 ( Водяной Насос - )
Fan And V-Belt - ST427912 ( Вентилятор И V-Пояс - )
Engine Coolant Heater - ST427913 ( Двигателя Охлаждающей Жидкости Нагреватель - )
Engine Coolant Heater - ST427914 ( Двигателя Охлаждающей Жидкости Нагреватель - )
Radiator - ST427915 ( Радиатор - )
Radiator Baffle And Cushion Kit - ST427917 ( Дефлектор Радиатора И Подушка Комплект )
Fan Shroud Extension And Front Hood Support - ST427918 ( Кожух Вентилятора Расширение И Передний Капот Поддержка - )
Fan Guard - ST427919 ( Вентилятор Гвардии )
Water Manifold And Thermostats - ST427920 ( Водяной Коллектор И Термостаты - )
Engine Coolant Conditioner Filter Kit - ST427921 ( Охлаждающей Жидкости Двигателя Фильтр Кондиционера Комплект )
Coolant Temperature Sender - ST427923 ( Датчик Температуры ОЖ - )
Engine Gasket Kits - ST427924 ( Комплекты Прокладок Двигателя - )
Engine Overhaul Kit - ST427925 ( Капитальный Ремонт Двигателя Комплект )
Replacement Engine Short Block - ST427926 ( Замена Короткого Блока Двигателя - )
Complete Block Assembly - ST427927 ( Полный Блок В Сборе - )
Engine Underhaul Kit - ST427928 ( Двигатель Комплект Underhaul - )
TORQ-GARD SUPREME AND PLUS-50 ENGINE OIL - ST427870 ( ТОРК-ГАРД ВЫСШЕГО И ПЛЮС - МОТОРНОЕ МАСЛО - )
![Джон Дир 8430 TORQ-GARD SUPREME AND PLUS-50 ENGINE OIL TORQ-GARD SUPREME AND PLUS-50 ENGINE OIL]()
1 - Масло TY6359 Примечание:(SAE 5W/30), 0.9 L (1 QUART), CAN
1 - Масло TY6360 Примечание:(SAE 5W/30), 19 L (5 GALLON), CAN
1 - Масло TY6361 Примечание:(SAE 5W/30), 208 L (55 GALLON), DRUM
1 - Масло TY6364 Примечание:(SAE 10W/30), 0.9 L (1 QUART), (BREAKIN)
1 - Масло TY6297 Примечание:(SAE 15W/40, 0.9 L (1 QUART), CAN
1 - Масло TY6298 Примечание:(SAE 15W/40), 19 L (5 GALLON), CAN
1 - Масло TY6300 Примечание:(SAE 15W/40), 114 L (30 GALLON), DRUM
1 - Масло TY6301 Примечание:(SAE 15W/40), 208 L (55 GALLON), DRUM
1 - Масло TY6311 Примечание:(SAE 10W), 0.9 L (1 QUART), CAN
1 - Масло TY22009 Примечание:(SAE 10W), 3.8 L (1 GALLON)
1 - Масло TY6312 Примечание:(SAE 10W), 19 L (5 GALLON), CAN
1 - Масло TY6313 Примечание:(SAE 10W), 208 L (55 GALLON), DRUM
1 - Масло AR63979 Примечание:(SAE 30W), 0.2 L (1 HALF PINT), CAN
1 - Масло AR63218 Примечание:(SAE 30W), 0.9 L (1 QUART), CAN
1 - Масло AR63219 Примечание:(SAE 30W), 19 L (5 GALLON), CAN
1 - Масло TY6280 Примечание:(SAE 30W), 114 L (30 GALLON), DRUM
1 - Масло AR63222 Примечание:(SAE 30W), 208 L (55 GALLON), DRUM
2 - Torq-Gard Supreme Plus-50 TY6389 Примечание:(SAE 15W/40), 0.9 L (1 QUART)
2 - Torq-Gard Supreme Plus-50 TY22008 Примечание:(SAE 15W/40), 3.8 L (1 GALLON)
2 - Torq-Gard Supreme Plus-50 TY6390 Примечание:(SAE 15W/40), 19 L (5 GALLON)
2 - Torq-Gard Supreme Plus-50 TY22010 Примечание:(SAE 15W/40), 113.6 L (30 GALLON)
2 - Torq-Gard Supreme Plus-50 TY6391 Примечание:(SAE 15W/40), 208 L (55 GALLON)
2 - Масло TY6392 Примечание:(SAE 30W), 0.9 L (1 QUART)
2 - Масло TY22007 Примечание:(SAE 30W), 3.8 L (1 GALLON)
2 - Масло TY6393 Примечание:(SAE 30W), 19 L (5 GALLON)
2 - Масло TY22011 Примечание:(SAE 30W), 113.6 L (30 GALLON)
2 - Масло TY6394 Примечание:(SAE 30W), 208 L (55 GALLON)
.. - Обкаточное моторное масло TY22041 Примечание:(SAE 10W/30), 3.8 L (1 GALLON), (FACTORY SPEC. BREAKIN)
.. - Обкаточное моторное масло TY22042 Примечание:(SAE 10W/30), 208 L (55 GALLON), (FACTORY SPEC. BREAKIN)
.. - Заглушка AR21969 Примечание:(DUST CAP/COVER KIT)
Наверх
Coolant Conditioner And Engine Part Lubricants - ST427872 ( Охлаждающей Жидкости Кондиционера И Часть Смазки Двигателя - )
![Джон Дир 8430 Coolant Conditioner And Engine Part Lubricants Coolant Conditioner And Engine Part Lubricants]()
1 - Масло AR44402 Примечание:0.9 L (1 QT.)
2 - Конд. прис. к охл. ж. двиг. RE23182
Примечание:0.473 L (16 OZ), (SUB TY16004) (PHOSPHATE - FREE)
2 - Конд. прис. к охл. ж. двиг. TY16004 Примечание:0.472 L (16 OZ)
3 - Конд. прис. к охл. ж. двиг. RE35992
Примечание:3.8 L (1 GAL), (SUB TY16005) (PHOSPHATE - FREE)
4 - Смазка AR54749 Примечание:0.9 L (1 QT)
.. - Конд. прис. к охл. ж. двиг. TY16005 Примечание:1.9 L (1/2 GAL)
Наверх
Cylinder Head and Valves - ST427873 ( Головка блока цилиндров и клапаны - )
![Джон Дир 8430 Cylinder Head and Valves Cylinder Head and Valves]()
1 - Колпачок T20129 2 Посмотреть аналогичные детали
2 - Стопор T20077 Количество:24 Посмотреть аналогичные детали
3 - Поворотное устройство RE11410 2 Примечание:(SUB FOR AR41006)
4 - Пружина R26125 2 Посмотреть аналогичные детали
5 - Винт с головкой R88045 Количество:7 Engine Serial No.348831-______ Примечание:(USE WITH BLOCKS MARKED BELOW R122724) (9/16" X 7.4")
5 - Винт R121322 Количество:7 Примечание:(USE WITH BLOCKS MARKED R122724 AND ABOVE) (9/16" X 7.4"), (MARKED "SPECIAL")
6 - Винт с головкой R88044 Количество:8 Engine Serial No.348831-______ Примечание:(USE WITH BLOCKS MARKED BELOW R122724) (9/16" X 6.3")
6 - Винт R121321 Количество:8 Примечание:(USE WITH BLOCKS MARKED R122724 AND ABOVE) (9/16" X 6.3"), (MARKED "SPECIAL")
7 - Винт с головкой R88043 Количество:5 Engine Serial No.348831-______ Примечание:(USE WITH BLOCKS MARKED BELOW R122724) (9/16" X 5.3")
7 - Винт с головкой R88043 1 Engine Serial No.348831-______ Примечание:(USE WITH BLOCKS MARKED BELOW R122724) (9/16" X 5.3"), (USE WITH R87555, R87556, R87557 OR R87559)
7 - Винт с головкой R121320 1 Примечание:(USE WITH BLOCKS MARKED R122724 AND ABOVE) (9/16" X 5.3"), (MARKED "SPECIAL")
8 - Винт с головкой R88042 Количество:6 Примечание:(USE WITH BLOCKS MARKED BELOW R122724) (9/16" X 3.2")
9 - Винт R62420 Количество:7 Engine Serial No.______-348830 Примечание:(USE WITH BLOCKS MARKED BELOW R122724) (9/16" X 7.4"), (SUB R88045)
10 - Винт R62419 Количество:8 Engine Serial No.______-348830 Примечание:(USE WITH BLOCKS MARKED BELOW R122724) (9/16" X 6.3"), (SUB R88044)
11 - Винт R62418 Количество:5 Engine Serial No.______-317192 Примечание:(USE WITH BLOCKS MARKED BELOW R122724) (9/16" X 5.3"), (SUB R88043)
11 - Винт R62418 1 Engine Serial No.317193-348830 Примечание:(USE WITH BLOCKS MARKED BELOW R122724) (9/16" X 5.3"), (USE WITH R87564, R87555, R87556, R87557 OR R87559) (SUB R88043)
12 - Винт R62421 Количество:6 Engine Serial No.______-317192 Примечание:(USE WITH BLOCKS MARKED BELOW R122724) (9/16" X 3.3"), (SUB R88042)
13 - Шайба R76126 Количество:26 Engine Serial No.______-348830 Примечание:(USE WITH BLOCKS MARKED BELOW R122724) 14.681 X 25.400 X 2.667 mm (37/64" X 1" X 0.105"), (SUB FOR R42364) (USE WITH R62418, R62419, R62420, R62421, R64530 OR R78505)
14 - Трубная заглушка 15H690 1 Примечание:3/4", (SUB FOR AR72318)
15 - Трубная заглушка R76491 Engine Serial No.XXXXXX-______ Примечание:(SUB FOR RE10132)
16 - Вставка седла клапана R78702 2 Примечание:STD (SUB FOR R50356, APPL)
16 - Вставка седла клапана R82508 2 Примечание:0.25 MM (0.010"), OS (SUB FOR R55061, APPL)
17 - Трубная заглушка 15H624 Количество:6 Примечание:1/2", (SUB FOR AR72319)
18A - Установочный штифт F1743R Engine Serial No.______-357406
18B - Заглушка AT107509 Engine Serial No.357407-______
19 - Пружинный шплинт 34H387 Примечание:3/16" X 3/4"
20 - Прокладка R43595
21 - Крышка R51347
22 - Стопорная шайба 12H331 Количество:6 Примечание:3/8 дюйма
23 - Винт с головкой 19H2284 Количество:6 Примечание:3/8" X 7/8"
24 - Винт с головкой 19H1756 Количество:2 Примечание:5/8" X 1-1/2", (SUB FOR R45693)
Наверх
Cylinder Head and Valves - ST427874 ( Головка блока цилиндров и клапаны - )
![Джон Дир 8430 Cylinder Head and Valves Cylinder Head and Valves]()
25 - Винт с головкой 19H2367 Примечание:5/8" X 3/4", SUB FOR R45692
25 - Винт 19H3651 Примечание:5/8" X 1-1/4", SUB FOR RE10901
26 - Выхлопной клапан R50357 Количество:6 Примечание:STDПосмотреть аналогичные детали
26 - Выхлопной клапан R55056 Количество:6 Примечание:0.08 MM (0.003") OS
26 - Выхлопной клапан R55058 Количество:6 Примечание:0.38 MM (0.015") OS
26 - Выхлопной клапан R55060 Количество:6 Примечание:0.76 MM (0.030") OS
27 - Впускной клапан R50358 Количество:6 Примечание:STDПосмотреть аналогичные детали
27 - Впускной клапан R55055 Количество:6 Примечание:0.08 MM (0.003") OS
27 - Впускной клапан R55057 Количество:6 Примечание:0.38 MM (0.015") OS
27 - Впускной клапан R55059 Количество:6 Примечание:0.76 MM (0.030") OS
28 - Головка блока цилиндров AR103505 Примечание:MARKED R61521, R76384 OR R86696; SUB FOR AR81615
28 - Голов. блока цил. восст. SE500327 Примечание:(REMANUFACTURED AR103505)
29 - Головка блока цилиндров RE11470 Примечание:MARKED R76384 OR R86696
29 - Голов. блока цил. восст. SE501575 Примечание:(REMANUFACTURED RE11470)
30 - Прокл. гол. цил. двигат. RE47336 Примечание:SUB FOR R55182, RE34010 OR R80026Посмотреть аналогичные детали
Наверх
Rocker Arm Cover And Ventilator Tube - ST427875 ( Коромысла Крышки И Вентилятора - )
![Джон Дир 8430 Rocker Arm Cover And Ventilator Tube Rocker Arm Cover And Ventilator Tube]()
1 - Скоба TY22467 Количество:2 Примечание:(SUB FOR AR21839) (1 USED 4640, 4840, 8440)
2 - Винт с шайбой AR103811 Количество:8 Примечание:(SUB FOR AR45530)
3 - Крышка RE37448 Engine Serial No.001267-______ Примечание:(SUB FOR AR73677 OR AR93172)
4 - Прокладка R49866 Примечание:(SUB FOR R32593)Посмотреть аналогичные детали
5 - Крышка AR26516 Engine Serial No.______-001266
6 - Труба R50388
7 - Шланг R50389 Engine Serial No.______-001266
8 - Уплотнительное кольцо R495R Engine Serial No.______-001266
9 - Линия R50387 Engine Serial No.______-001266
10 - Шланг R99793 Engine Serial No.001267-______ Примечание:(SUB FOR R60753) (SUB TY22450)
10 - Шланг без конц. арматуры TY22450 Примечание:(BULK)
Наверх
Rocker Arms And Rocker Arm Shaft - ST427876 ( Коромысла И Ось Коромысел - )
![Джон Дир 8430 Rocker Arms And Rocker Arm Shaft Rocker Arms And Rocker Arm Shaft]()
1 - Заглушка R54565 Количество:2
2 - Шайба R26081 Количество:2
3 - Скоба R65553 Количество:2 Engine Serial No.073297-______ Примечание:(FURNISH R136083)
4 - Шайба R26559 Количество:6
5 - Винт с головкой 19H1740 Количество:6 Примечание:7/16" X 1-3/4"
6 - Ось клапанного коромысла R70826 Примечание:(SUB FOR R54564 OR R60650)
7 - Шайба R71208 Количество: 10 Примечание:19.500 X 26 X 0.910 mm (0.768" X 1.024" X 0.036")
8 - Пружина R26079 Количество:5
9 - Установочный винт R27443 2
10 - Гайка 14H846 2 Примечание:3/8 дюйма
11 - Коромысло AR54905 Количество:6
Примечание:(E - (EXHAUST VALVE) I - (INTAKE VALVE)) (1I, 2E, 3I, 4E, 5I, 6E) (LH)
12 - Скоба R26748 Количество:6 Engine Serial No.______-073296
12 - Скоба R26748 Количество:2 Engine Serial No.073297-______
13 - Коромысло AR54904 Количество:6
Примечание:(E - (EXHAUST VALVE) I - (INTAKE VALVE)) (1E, 2I, 3E, 4I, 5E, 6I) (RH)
14 - Толкатель AR40680 2 Engine Serial No.______-320189 Примечание:(SUB R85027)
14 - Толкатель R85027 2 Engine Serial No.320190-______
15 - Следящий элемент кулачка R52773 2 Посмотреть аналогичные детали
Наверх
Lift Straps - ST427877 ( Лифт Ремни - )
![Джон Дир 8430 Lift Straps Lift Straps]()
1 - Хомут R61497
2 - Винт с головкой 19H1756 Примечание:5/8" X 1-1/2", (SUB FOR R45693 OR RE10901, APPL)
Наверх
Camshaft And Gear - ST427878 ( Распредвал И Шестерни - )
![Джон Дир 8430 Camshaft And Gear Camshaft And Gear]()
1 - Втулка R46903 Количество:4 Посмотреть аналогичные детали
2 - Следящий элемент кулачка R52773 2 Посмотреть аналогичные детали
3 - Винт с головкой 19H1721 Engine Serial No.______-001123 Примечание:1/2" X 1-1/2"
3 - Винт с головкой 19H1777 Engine Serial No.001124-______ Примечание:1/2" X 1-3/4", USE WITH R64086 OR R65565
3 - Винт с головкой R79850 Примечание:12.700 X 50.800 mm (1/2" X 2"), USE WITH R71530, R71531, R71529 OR R77259; SUB FOR 19H1831, OR R93238
4 - Распредвал AR74144 Engine Serial No.______-XXXXXX Примечание:MARKED R59420, R61150 OR R71531; SUB FOR AR100385 OR AR71709
4 - Комплект эксцентриков AR100385 Engine Serial No.XXXXXX-______ Примечание:MARKED R64086, R71529, R77259 OR R78316; SUB FOR AR79610
5 - Шпонка вала 26H72 Примечание:1/8" X 5/8"
6 - Упорная шайба R42355
7 - Шайба R42356
8 - Винт с головкой 19H1813 Примечание:5/16" X 5/8"
9 - Передача AR87700 Примечание:SUB FOR AR71243, AR74292 OR AR87699
10 - Шайба T20217 Примечание:SUB FOR R35256
Наверх
Tachometer Drive - ST427879 ( Привод Тахометра - )
![Джон Дир 8430 Tachometer Drive Tachometer Drive]()
1 - Прокладка R62410
2 - Передача R32426
3 - Шпонка вала 26H3 Примечание:3/32" X 3/8"
4 - Ось R26172
5 - Корпус R43851 Engine Serial No.______-161132
6 - Трубная заглушка 15H559 Примечание:1/4 дюйма
7 - Шайба 24H1303 Количество:4 Примечание:13/32" X 11/16" X 0.065"
8 - Винт с головкой 19H1732 Количество:4 Примечание:3/8" X 1-1/4"
9 - Колпачок B3362R Engine Serial No.161133-______
10 - Шайба B3285R Engine Serial No.161133-______
11 - Пружинное кольцо R72655 Количество:2 Engine Serial No.161133-______ Примечание:(SUB FOR T12808)
12 - Штифт с канавкой R63287 Engine Serial No.161133-______
13 - Передача R89785 Engine Serial No.161133-______ Примечание:(SUB FOR R63286)
14 - Корпус R63285 Engine Serial No.161133-______
15 - Корпус RE29234 Engine Serial No.161133-______ Примечание:(SUB FOR AR80682)
Наверх
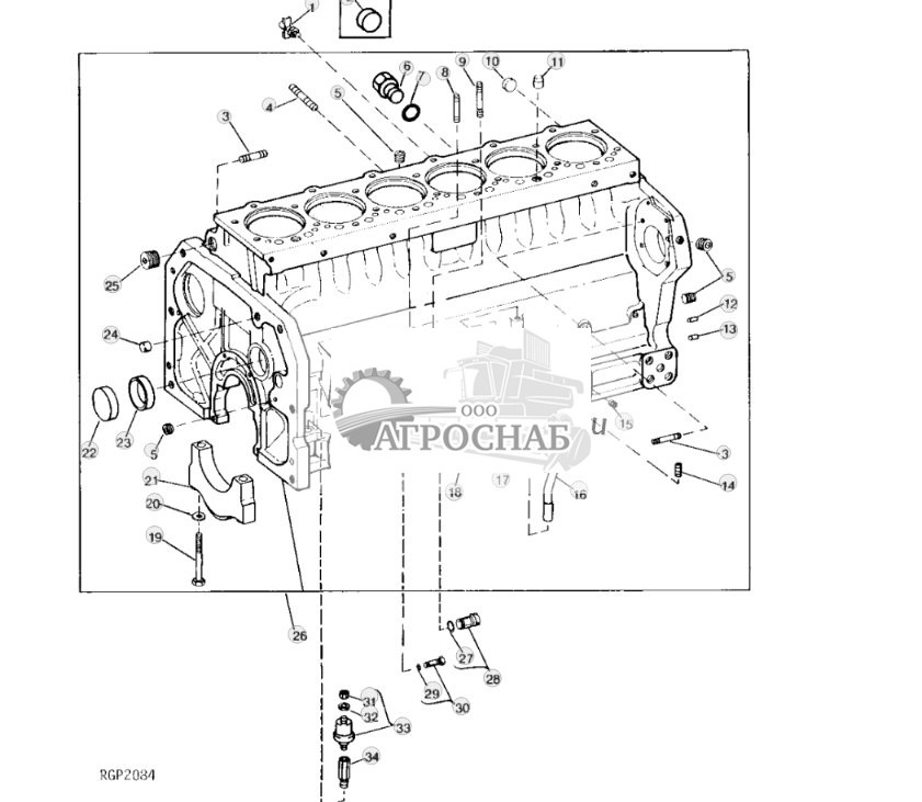
Cylinder Block, Fittings And Main Bearing Caps - ST427880 ( Блок Цилиндров, Штуцеров И Крышки Коренных Подшипников - )
![Джон Дир 8430 Cylinder Block, Fittings And Main Bearing Caps Cylinder Block, Fittings And Main Bearing Caps]()
1 - Сливной клапан AT13740 Посмотреть аналогичные детали
2 - Заглушка R502753 Примечание:USE WITH R65734; SUB FOR AR80294 OR R47092
3 - Шпилька R114130 Количество:5 Примечание:3/8" X 1-11/16", (SUB FOR R55396)
4 - Шпилька R50375 Количество:2 Примечание:5/16" X 3"
5 - Трубная заглушка 15H624 Количество:4 Примечание:1/2", (SUB FOR AR72319)
6 - Пробка сливного отверстия R39741 Примечание:(USE WITH R72131) (USE WITH BLOCK MARKED R72131)
7 - Уплотнительное кольцо U13639 Примечание:(USE WITH R72131) (USE WITH BLOCK MARKED R72131)
8 - Шпилька R106859 Примечание:3/8" X 2-3/4", (SUB FOR F3646R OR R26622)
9 - Шпилька R55395 Примечание:3/8" X 3-5/8"
10 - Трубная заглушка 15H690 Количество:2 Примечание:3/4", (TRACTOR LESS HEATER) (SUB FOR AR72318)
10 - Трубная заглушка 15H690 Примечание:3/4", (SUB FOR AR72318)
11 - Втулка R42340 Количество:2
12 - Установочный штифт R1612R Количество:2
13 - Установочный штифт F1743R Количество:2
14 - Трубная заглушка R104592
15 - Трубная заглушка R104592 Количество:4 Примечание:(SUB FOR R21630, APPL)
16 - Трубка щупа AR71850
17 - Жиклер R43621 Количество:6
18 - Уплотнительное кольцо R71732 Примечание:(SUB FOR R50378)
19 - Болт R42365 4
20 - Шайба R70268 4 Примечание:(SUB FOR R42363)
21 - Крышка подшипника R57158 Количество:6 Примечание:Основной
21 - Крышка подшипника R57159 Примечание:Коренной упорный подшипник
22 - Заглушка R26115
23 - Втулка R46903 Количество:4 Посмотреть аналогичные детали
24 - Установочный штифт R43634 Engine Serial No.______-022455
24 - Установочный штифт R61288 Engine Serial No.022456-______
25 - Трубная заглушка 15H686 Примечание:1", (SUB FOR AR78522)
26 - Блок цилиндра AR71567 Engine Serial No.______-022396 Примечание:(MARKED R54270) (SUB RE65082, R54123, U13639, AR92392, AR77554, (4) 19H1782, (4) R78019 AND (6) R88043)
26 - Блок цилиндра AR82446 Engine Serial No.022397-XXXXXX Примечание:(MARKED R60552) (SUB RE65082, R54123, U13639 AND (6) R88043) (8430)
26 - Блок цилиндра AR84747 Engine Serial No.XXXXXX-XXXXXX Примечание:(MARKED R65734) (SUB RE28309 AND (6) R88043) (ALSO ORDER R54123 AND U13639) (8430, 8440)
26 - Блок цилиндра AR94843 Engine Serial No.XXXXXX-______ Примечание:(MARKED R72131) (SUB RE65082 AND (6) R88043) (8430, 8440)
26 - Блок цилиндра RE28309 Примечание:(MARKEDR87559 OR R87564) (8430, 8440)
26 - Дизельный двиг. восст. SE500093 Engine Serial No.022395-______ Примечание:(RUNNABLE)
27 - Уплотнительное кольцо R27149
28 - Заглушка AR61533
29 - Уплотнительное кольцо A4365R
30 - Заглушка DZ104494 Примечание:SUB FOR AR61589
31 - Гайка 14H631 Примечание:0.190"
32 - Шайба 12M7060 Примечание:5.300 mm
33 - Датчик давл. мот. масла RE15583 Примечание:OIL PRESSURE (SUB FOR AR58234 (ONE PRONG))
33 - Датчик RE12175 Примечание:(THREE PRONGED) (SUB RE167207 AND RE60578)
33 - Узел электрич. разъема RE12332 Примечание:(USE WITH RE12175)
34 - Фитинг R53014
Наверх
Engine Short Block - ST427881 ( Двигатель Короткий Блок - )
![Джон Дир 8430 Engine Short Block Engine Short Block]()
1 - Узел короткого блока RE28293 Engine Serial No.______-022395 Примечание:(MARKED R54270) (SUB RE53486 AND AR103298) (ALSO ORDER AR92392, AR77555, (4) 19H1782, (4) R78019, R76547, RE10090 AND (6) R88043)
1 - Узел короткого блока RE28293 Engine Serial No.022396-XXXXXX Примечание:(MARKED R60552) (SUB RE53486 AND AR103298) (ALSO ORDER (4) R78019, (4) 19H3167, R76547, RE10090 AND (6) R88043)
1 - Узел короткого блока RE28293 Примечание:(MARKED R65734) (SUB RE53486 AND AR103298) (ALSO ORDER (4) R78019, (4) 19H3167, R76547, RE10090 AND (6) R88043)
.. - Дизельный двиг. восст. SE500093 Engine Serial No.______-022395 Примечание:(DtlВ сборе)
.. - Базов. диз. двиг. восст. SE500033 Engine Serial No.______-022395 Примечание:(BASIC)
.. - Дизельный двиг. восст. SE500094 Engine Serial No.022396-______ Примечание:(DtlВ сборе)
.. - Базов. диз. двиг. восст. SE500034 Engine Serial No.022396-______ Примечание:(BASIC)
Наверх
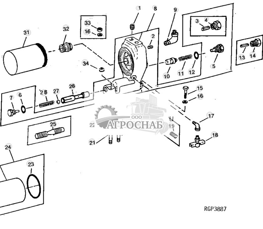
Short Block Installation Kit - ST427882 ( Короткое Установочный Комплект Блок - )
![Джон Дир 8430 Short Block Installation Kit Short Block Installation Kit]()
1 - Масляный насос AR96190 Примечание:(MARKED R62946) (SUB RE44118, RE53510, R100569, R119364, (4) R57696, R71732, (2) 19H2545 AND (2) 19H2549)
1 - Масляный насос RE44118 Примечание:(MARKED R62946 OR R124328) (SUB SE501063, THIS APPLICATION)
1 - Масляный насос восст. SE501063 Примечание:(REMANUFACTURED) (MARKED R62946 OR R124328)
2 - Передача R62938
3 - Щиток AR77713 Примечание:(NLR)
4 - Стопорная шайба 12H303 Количество:2 Примечание:5/16", (NLR)
5 - Винт с головкой 19H1813 Количество:2 Примечание:5/16" X 5/8", (NLR)
6 - Корпус RE29234 Примечание:(SUB FOR AR80682)
7 - Фитинг переходника R54123 Примечание:(COOLANT HEATER)
8 - Корпус R62954 Примечание:(SUB R78134)
9 - Уплотнительное кольцо U13639
10 - Трубная гайка R65683
11 - Корпус R78134 Примечание:(SUB FOR R62954)
12 - Уплотнительное кольцо U17409
13 - Масляная трубка R62952
14 - Комплект AR103298
Наверх
Engine Oil Pump Intake (Late Design) - ST427883 ( Двигателя Впускной Масляный Насос (Последняя Конструкция) - )
![Джон Дир 8430 Engine Oil Pump Intake (Late Design) Engine Oil Pump Intake (Late Design)]()
1 - Прокладка R100569
2 - Впуск масляного насоса RE42637 Примечание:(FLAT BOTTOM INSIDE OIL PAN) (USE WITH RE44118)
2 - Впуск масляного насоса RE53510
Примечание:(BOTTOM OF OIL PAN INSIDE - NOT FLAT) (USE W/RE44118)
3 - Винт R104628 Количество:3
Наверх
Engine Oil Pump (Late Design) (Crankshaft Driven) - Continued - ST427884 ( Двигатель Масляного Насоса (Последняя Конструкция) (С Приводом От Коленчатого Вала) - Продолжение - )
![Джон Дир 8430 Engine Oil Pump (Late Design) (Crankshaft Driven) Engine Oil Pump (Late Design) (Crankshaft Driven)]()
1 - Втулка R62930 Количество:2
2 - Передача R62938
3 - Шайба T21242
4 - Гайка 14H826 Примечание:1/2"
5 - Шайба R57696 Количество:4
6 - Винт с головкой 19H2549 Количество:2 Примечание:3/8" X 1-7/8"
7 - Винт с головкой 19H3219 Количество:2 Примечание:3/8" X 1-3/8"
8 - Установочный винт 22H1040 Примечание:5/16" X 1-1/4"
9 - Гайка 14H785 Примечание:5/16"
10 - Уплотнительное кольцо R71732
11 - Винт R104628 Количество:2
11 - Винт R104628 Количество:3 Примечание:(INTAKE COVER TO HOUSING)
12 - Масляный насос RE44118 Примечание:(MARKED R62946 OR R124328) (SUB FOR AR99341 OR AR96190) (SUB SE501063, THIS APPLICATION)
12 - Масляный насос восст. SE501063 Примечание:MARKED R124328 OR R62946; REMAN FOR RE44118
12 - Масляный насос RE507076 Примечание:MARKED R504028
12 - Масляный насос восст. SE500877 Примечание:MARKED R504028; REMAN FOR RE507076
13 - Прокладка R100569
14 - Масляный насос RE60622
15 - Уплотнительное кольцо R71732
16 - Масляная трубка R62952
Наверх
Cylinder Block, Fittings And Main Bearing Caps - ST427885 ( Блок Цилиндров, Штуцеров И Крышки Коренных Подшипников - )
![Джон Дир 8430 Cylinder Block, Fittings And Main Bearing Caps Cylinder Block, Fittings And Main Bearing Caps]()
1 - Трубная заглушка 15H624 Количество:4 Примечание:1/2", SUB FOR AR72319
2 - Сливной клапан AT13740 Посмотреть аналогичные детали
3 - Пробка сливного отверстия R39741
4 - Уплотнительное кольцо U13639
5 - Шпилька R106859 Примечание:3/8" X 2-3/4", SUB FOR F3646R OR R26622
6 - Шпилька R55395 Примечание:3/8" X 3-5/8"
7 - Трубная заглушка 15H690 Примечание:3/4", SUB FOR AR72318
8 - Втулка R42340 Количество:2
9 - Установочный штифт R1612R Количество:2
10 - Установочный штифт F1743R Количество:2
11 - Шпилька R114130 Количество:5 Примечание:3/8" X 1-11/16", SUB FOR R55396
12 - Трубная заглушка R104592
13 - Трубная заглушка R104592 Количество:4 Примечание:SUB FOR R21630, APPL
14 - Трубка щупа AR71850
15 - Жиклер R43621 Количество:6
16 - Уплотнительное кольцо R71732
17 - Втулка R62930 Количество:2
18 - Крышка подшипника R57158 Количество:6 Примечание:Основной
18 - Крышка подшипника R57159 Примечание:Коренной упорный подшипник
19 - Болт R42365 4
20 - Шайба R70268 4 Примечание:SUB FOR R42363
21 - Заглушка R26115
22 - Втулка R46903 Количество:4 Посмотреть аналогичные детали
23 - Установочный штифт R61288
24 - Трубная заглушка 15H562 Примечание:1", SUB FOR AR78522
25 - Блок цилиндра AR98843 Engine Serial No.______-231857 Примечание:MARKEDR62907 ORR74352; SUB FOR AR96198; SUB RE65074, (4) R78019, (4) 19H3167 AND R76547
25 - Блок цилиндра AR100957 Engine Serial No.231858-317193 Примечание:MARKED R71689; SUB FOR AR98843; SUB RE65074, (4) R78019, (4) 19H3167 AND R76547
25 - Блок цилиндра RE28311 Engine Serial No.317194-______ Примечание:MARKED R87564; SUB RE65074
25 - Блок цилиндра RE60443 Примечание:MARKED R122735; SUB RE65074
25 - Блок цилиндра RE65074 Примечание:MARKED R122735; INCLUDES (26) HEAD BOLTS
26 - Уплотнительное кольцо R27149
27 - Заглушка AR61533
28 - Уплотнительное кольцо A4365R
28 - Уплотнительное кольцо R50894 Количество:2 Engine Serial No.310900-312200 Примечание:AS REQUIRED
29 - Заглушка AR61589
30 - Гайка 14H631 Примечание:0.190"
31 - Шайба 12M7060 Примечание:5.300 mm
32 - Датчик давл. мот. масла RE15583 Примечание:OIL; SUB FOR AR58234; ONE PRONG
32 - Датчик RE12175 Примечание:OIL; THREE PRONGED; SUB RE167207 AND RE60578
32 - Узел электрич. разъема RE12332 Примечание:USE WITH RE12175
33 - Фитинг R53014
Наверх
Replacement Cylinder Block, Fittings And Main Bearing Caps - ST427886 ( Замена Блока Цилиндров, Штуцеров И Крышки Коренных Подшипников - )
![Джон Дир 8430 Replacement Cylinder Block, Fittings And Main Bearing Caps Replacement Cylinder Block, Fittings And Main Bearing Caps]()
1 - Трубная заглушка 15H624 Количество:4 Примечание:1/2"
2 - Сливной клапан AT13740 Посмотреть аналогичные детали
3 - Пробка сливного отверстия R39741
4 - Уплотнительное кольцо U13639
5 - Шпилька R106859 Примечание:3/8" X 2-3/4"
6 - Шпилька R55395 Примечание:3/8" X 3-5/8"
7 - Трубная заглушка 15H690 Примечание:3/4"
8 - Втулка R42340 Количество:2
9 - Установочный штифт R1612R Количество:2
10 - Установочный штифт F1743R Количество:2
11 - Шпилька R114130 Количество:5 Примечание:3/8" X 1-11/16"
12 - Трубная заглушка R104592
13 - Трубная заглушка R104592 Количество:4
14 - Трубка щупа AR71850
15 - Жиклер R43621 Количество:6
16 - Уплотнительное кольцо R71732
17 - Втулка R62930 Количество:2
18 - Крышка подшипника R57158 Количество:6 Примечание:Основной
18 - Крышка подшипника R57159 Примечание:Коренной упорный подшипник
19 - Болт R42365 4
20 - Шайба R70268 4
21 - Заглушка R26115
22 - Втулка R46903 Количество:4 Посмотреть аналогичные детали
23 - Установочный штифт R61288
24 - Трубная заглушка 15H686 Примечание:1"
25 - Комплект болтов RG24025
26 - Блок цилиндра RE65074 Примечание:MARKED R122735; INCLUDES (26) HEAD BOLTS
27 - Уплотнительное кольцо R27149
28 - Заглушка AR61533
29 - Уплотнительное кольцо A4365R
29 - Уплотнительное кольцо R50894 Количество:2 Engine Serial No.310900-312200 Примечание:AS REQUIRED
30 - Заглушка DZ104494 Примечание:SUB FOR AR61589
31 - Гайка 14H631 Примечание:0.190"
32 - Шайба 12M7060 Примечание:5.300 mm
33 - Датчик давл. мот. масла RE15583 Примечание:OIL; ONE PRONG
33 - Датчик RE12175 Примечание:OIL; THREE PRONGED; SUB RE167207 AND RE60578
33 - Узел электрич. разъема RE12332 Примечание:USE WITH RE12175
34 - Фитинг R53014
Наверх
Engine Short Block (For Crankshaft Driven Oil Pump) - ST427887 ( Двигатель Короткий Блок (Для Загонной Коленвала, Масляного Насоса) - )
![Джон Дир 8430 Engine Short Block (For Crankshaft Driven Oil Pump) Engine Short Block (For Crankshaft Driven Oil Pump)]()
1 - Узел короткого блока AR98844 Engine Serial No.______-231856
Примечание:(SHORT BLOCK SERIAL NO. -572026)) (MARKED R62907 OR R74352) (SUB FOR AR94828) (SUB RE65075 AND RE10090)
1 - Узел короткого блока AR100958 Engine Serial No.231857-317193 Примечание:(SHORT BLOCK SERIAL NO. 572027-)) (MARKED R71689) (SUB FOR AR98844) (SUB RE65075)
1 - Узел короткого блока RE28293 Engine Serial No.317194-______ Примечание:(MARKED R87564) (SUB RE65075)
1 - Узел короткого блока RE53486 Примечание:(MARKED R87564) (SUB RE65075) (USE WITH RE53200)
1 - Узел короткого блока RE60444 Примечание:(MARKED R122735) (SUB RE65075)
Наверх
Engine Short Block (For Camshaft Driven Oil Pump) - ST427888 ( Двигатель Короткий Блок (Для Распр. Вал Масляного Насоса) - )
![Джон Дир 8430 Engine Short Block (For Camshaft Driven Oil Pump) Engine Short Block (For Camshaft Driven Oil Pump)]()
1 - Узел короткого блока AR72082 Engine Serial No.______-022395 Примечание:(OIL PUMP NOT INCLUDED W/NEW SHORT BLOCK) (MARKED R54270) (SUB RE65075, AR103298, AR92392, AR77555, (4) 19H1782, (4) R78019, R76547, RE10090 AND RE42637) (8430)
1 - Узел короткого блока AR82444 Engine Serial No.022396-XXXXXX Примечание:(OIL PUMP NOT INCLUDED W/NEW SHORT BLOCK) (MARKED R60552) (SUB RE65075, AR103298, (4) R78019, (4) 19H3167, R76547, RE10090 AND RE42637) (8430
1 - Узел короткого блока AR84753 Примечание:(OIL PUMP NOT INCLUDED W/NEW SHORT BLOCK) (MARKED R65734) (SUB RE65075, AR103298, (4) R78019, (4) 19H3167, R76547, RE10090 AND RE42637) (8430, 8440)
.. - Дизельный двиг. восст. SE500093 Engine Serial No.______-022395 Примечание:(DtlВ сборе)
.. - Базов. диз. двиг. восст. SE500033 Engine Serial No.______-022395 Примечание:(BASIC)
.. - Дизельный двиг. восст. SE500094 Engine Serial No.022396-______ Примечание:(B) (COMPLETE) (REMANUFACTURED)
.. - Базов. диз. двиг. восст. SE500034 Engine Serial No.022396-______ Примечание:(BASIC)
Наверх
Oil Pan - ST427889 ( Масляный Поддон - )
![Джон Дир 8430 Oil Pan Oil Pan]()
1 - Прокладка R71918 Примечание:(SUB FOR R53282)Посмотреть аналогичные детали
2 - Масляный поддон R58717 Engine Serial No.______-116920 Примечание:(SUB AR94561)
2 - Масляный поддон R71910 Engine Serial No.116921-______ Примечание:(SUB AR94561)
3 - Стопорная шайба 12H304 Количество:22 Примечание:3/8 дюйма
4 - Винт с головкой 19H2205 Количество:2 Engine Serial No.______-116920 Примечание:3/8" X 6"
4 - Винт с головкой 19H3562 Количество:2 Engine Serial No.161921-______ Примечание:3/8" X 6-1/8", (GR. G)
5 - Винт с головкой 19H2104 Количество:2 Engine Serial No.______-161920 Примечание:3/8" X 5"
5 - Винт с головкой 19H3504 Количество:2 Engine Serial No.161921-______ Примечание:3/8" X 5-3/8"
6 - Винт с головкой 19H3483 6 Engine Serial No.______-161920 Примечание:3/8" X 1-1/8"
6 - Винт с головкой 19H3267 6 Engine Serial No.161921-______ Примечание:3/8" X 1-5/8"
7 - Винт R27693 Количество:2 Engine Serial No.______-161920
7 - Винт R73445 Количество:2 Engine Serial No.161921-______
8 - Винт с головкой 19H1765 Количество:2 Engine Serial No.______-161920 Примечание:3/8" X 1-3/4"
8 - Винт с головкой 19H3485 Количество:2 Engine Serial No.161921-______ Примечание:3/8" X 2"
9 - Комплект AR94561 Примечание:(SUB FOR R71910 AND R58717)
10 - Шайба A4827R Engine Serial No.______-161920 Примечание:(USE WITH R58717)
11 - Пробка сливного отверстия R26727 Engine Serial No.______-161920 Примечание:(USE WITH R58717) (SUB FOR R51944) (1-14NS)
11 - Пробка сливного отверстия R27175 Примечание:(1 1/16-12 UN), (USE WITH R58717)
12 - Уплотнительное кольцо F3171R
13 - Коленчатый патрубок AT32331
14 - Фитинг T29439
.. - Прокладка R89441 Примечание:(SPLIT REAR GASKET)
Наверх
Engine Oil Drain Line - ST427890 ( Двигатель Утечка Масла - )
![Джон Дир 8430 Engine Oil Drain Line Engine Oil Drain Line]()
1 - Стопорная шайба 12H301 Количество:6 Примечание:1/2"
2 - Винт с головкой 19H2473 Количество:6 Примечание:1/2" X 1-3/4"
3 - Винт с головкой 19H1854 Примечание:3/8" X 3-3/4"
4 - Шайба 24M7096 Примечание:10.500 X 18 X 1.600 mm
5 - Распорная втулка 28H1535 Примечание:0.493" X 0.675" X 2-3/4"
6 - Разъемный хомут R51655 Количество:2
7 - Стопорная шайба 12H304 Примечание:3/8 дюйма
8 - Гайка 14H1076 Примечание:3/8 дюйма
9 - Маслопровод AR71273
10 - Болт R59410
11 - Опора AR97613 Tractor Serial No.XXXXXX-______
12 - Гайка 14H794 Примечание:3/4"
13 - Кронштейн R59129 Tractor Serial No.______-XXXXX Примечание:(SUB AR97613)
14 - Гайка R27390 Tractor Serial No.______-XXXXX
15 - Фитинг R47876 Tractor Serial No.______-XXXXX Примечание:(SUB AR97613)
Наверх
Dipstick - ST427891 ( Щуп - )
![Джон Дир 8430 Dipstick Dipstick]()
1 - Щуп AR74021
2 - Трубка щупа AR71850
Наверх
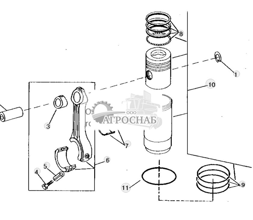
Piston, Rings, Liners and Connecting Rods - ST427892 ( Поршень, кольца, вкладыши и шатуны - )
![Джон Дир 8430 Piston, Rings, Liners and Connecting Rods Piston, Rings, Liners and Connecting Rods]()
1 - Пружинное кольцо E1343FN 2
2 - Штифт поршня R57771 Количество:6
3 - Втулка R60724 Количество:6 Посмотреть аналогичные детали
4 - Винт с головкой R66452 2 Посмотреть аналогичные детали
5 - Гильза R53292 2
6 - Соединительная тяга AR87638 Количество:6 Примечание:(MARKED R57303 OR R67320) (SUB SE500079) (SUB FOR AR68790)
6 - Соединит. тяга восст. SE500079 Количество:6 Примечание:REMAN FOR AR87638
7 - Подшипник AR73277 Примечание:(PKG R57583), STDПосмотреть аналогичные детали
7 - Подшипник AR73278 Примечание:0.05 MM (0.002"), US (PKG R60485)
7 - Подшипник AR73279 Примечание:0.25 MM (0.010"), US (PKGR60486)Посмотреть аналогичные детали
7 - Подшипник AR73280 Примечание:0.51 MM (0.020"), US (PKGR60487)Посмотреть аналогичные детали
7 - Подшипник AR73281 Примечание:0.76 MM (0.030"), US (PKG(2) R60488)
8 - Комплект колец поршня RE48380 Количество:6 Примечание:(SUB FOR AR73627)Посмотреть аналогичные детали
9 - Комплект уплотн. колец AR98850 Количество:6 Примечание:(SUB FOR AR73628)Посмотреть аналогичные детали
10 - Комплект поршня-гильзы RE60288 Количество:6 Примечание:(MARKED AR63062, AR79177, AR93629 OR AR93627) (USE WITH R57303 OR R67320) (SUB FOR AR72079)
11 - Прокладка R93948
Наверх
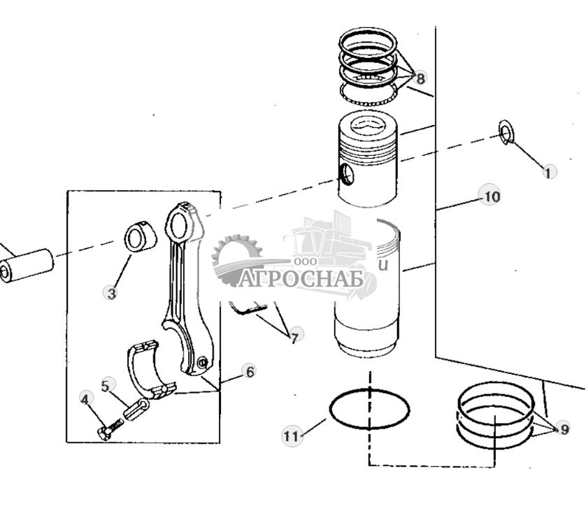
Piston, Rings, Liners and Connecting Rods - ST427893 ( Поршень, кольца, вкладыши и шатуны - )
![Джон Дир 8430 Piston, Rings, Liners and Connecting Rods Piston, Rings, Liners and Connecting Rods]()
1 - Пружинное кольцо E1343FN 2
2 - Штифт поршня R57771 Количество:6
3 - Втулка R74008 Количество:6 Посмотреть аналогичные детали
4 - Винт с головкой R66452 2 Посмотреть аналогичные детали
5 - Гильза R53292 2
6 - Соединительная тяга AR93341 Количество:6 Примечание:(MARKED R71074) (SUB SE500498)
6 - Соединит. тяга восст. SE500498 Количество:6 Примечание:(REMAN FOR AR93341)
7 - Подшипник AR73277 Примечание:(PKGR57583), STDПосмотреть аналогичные детали
7 - Подшипник AR73278 Примечание:0.05MM (0.002"), US (PKGR60485)
7 - Подшипник AR73279 Примечание:0.25MM (0.010"), US (PKG R60486)Посмотреть аналогичные детали
7 - Подшипник AR73280 Примечание:0.51MM (0.020") , US (PKGR60487)Посмотреть аналогичные детали
7 - Подшипник AR73281 Примечание:0.76MM (0.030"), US (PKGR60488)
8 - Комплект колец поршня RE48380 Количество:6 Примечание:(SUB FOR AR73627)Посмотреть аналогичные детали
9 - Комплект уплотн. колец AR98850 Количество:6 Посмотреть аналогичные детали
10 - Комплект поршня-гильзы RE60284 Количество:6 Примечание:(MARKED AR100673 OR AR100672) (USE WITH R71074) (SUB FOR AR100960)
11 - Прокладка R93948
Наверх
Crankshaft (Early Design) - ST427894 ( Коленвала (Начало Проектирования) - )
![Джон Дир 8430 Crankshaft (Early Design) Crankshaft (Early Design)]()
1 - Установочный штифт R41934
2 - Кнопка R120752
3 - Косозубое колесо R26049 Примечание:(USE WITH R56979 OR R63451)
3 - Передача R105488 Примечание:(USE WITH RE42675)
4 - Коленвал AR74624 Engine Serial No.______-161132 Примечание:(MARKED R56979) (SUB RE53422)
5 - Передача R63326 Engine Serial No.161133-______
6 - Коленвал AR96189 Engine Serial No.161133-______ Примечание:(MARKED R63451) (SUB RE53422)
6 - Коленвал RE42671 Примечание:(MARKED RE42675) (SUB RE53422)
7 - Шпонка вала 26H85 Примечание:1/4" X 1"
Наверх
Crankshaft (Late Design) - ST427895 ( Коленвала (Последняя Конструкция) - )
![Джон Дир 8430 Crankshaft (Late Design) Crankshaft (Late Design)]()
1 - Установочный штифт R41934
2 - Передача R63326
3 - Кнопка R120752
4 - Косозубое колесо R26049 Engine Serial No.______-359495 Примечание:(USE WITH R63451)
4 - Передача R105488 Engine Serial No.359496-______ Примечание:(USE WITH RE42675 OR RE53203)
5 - Коленвал AR96189 Engine Serial No.______-359495 Примечание:(MARKED R63451) (SUB RE53422)
5 - Коленвал RE42671 Engine Serial No.359496-362571 Примечание:(MARKED RE42675) (SUB RE53422)
6 - Шпонка вала 26H85 Engine Serial No.______-362571 Примечание:1/4" X 1", (USE WITH RE42675 OR R63451)
7 - Кнопка R116311 Engine Serial No.362572-______ Примечание:(USE WITH RE53203)
8 - Коленвал RE53422 Engine Serial No.362572-______ Примечание:(MARKED RE53203)
Наверх
Flywheel & Clutch Shaft Pilot Bushing Adapter - ST427896 ( Маховик )
![Джон Дир 8430 Flywheel & Clutch Shaft Pilot Bushing Adapter Flywheel & Clutch Shaft Pilot Bushing Adapter]()
1 - Винт с головкой R41049 Количество:6
2 - Шайба T23891 Количество:6
3 - Фитинг переходника RE10090
4 - Штифт R57102
5 - Зубчатый венец R28811 Посмотреть аналогичные детали
6 - Маховик AR68529 Примечание:(SUB FOR AR68646) (MARKED R57218)
Наверх
Crankshaft Pulley and Damper - ST427897 ( Шкив коленвала и демпфер - )
![Джон Дир 8430 Crankshaft Pulley and Damper Crankshaft Pulley and Damper]()
1 - Шпонка вала 26H85 Примечание:1/4" X 1"
2 - Амортизатор AR91692 Примечание:(SUB AR70834 AND AR72127) (ALSO ORDER(6) 19H3239 UNLESS PREVIOUSLY INSTALLED)
3 - Винт с головкой 19H3239 Количество:6 Примечание:3/8" X 1-1/4"
4 - Шайба R49519
5 - Амортизатор AR70834
6 - Винт с головкой R79846
7 - Шайба R26333
8 - Шкив с демпфером AR72127
Наверх
Main and Main thrust Bearings - ST427898 ( Основные и главные упорные подшипники - )
![Джон Дир 8430 Main and Main thrust Bearings Main and Main thrust Bearings]()
1 - Упорная шайба AR73275 Engine Serial No.______-XXXXXX Примечание:(PKG R57778), STD (SUB AR77747)Посмотреть аналогичные детали
1 - Упорная шайба AR73276 Engine Serial No.______-XXXXXX Примечание:0.16MM (0.007"), (PKG R60484), (SUB AR77753)
2 - Упорный подшипник AR72998 Engine Serial No.______-XXXXXX Примечание:(PKG R57779 AND R57780), STD (SUB AR77748 AND AR77747)
2 - Упорный подшипник AR73271 Engine Serial No.______-XXXXXX Примечание:0.05MM (0.002"), US (PKG R60476 AND R60477), (SUB AR77749 AND AR77747 OR AR77753)
2 - Упорный подшипник AR73272 Engine Serial No.______-XXXXXX Примечание:0.24MM (0.010"), US (PKG R60478 AND R60479), (SUB AR77750 AND AR77747 OR AR77753)
2 - Упорный подшипник AR73273 Engine Serial No.______-XXXXXX Примечание:0.51MM (0.020"), US (PKG R60480 AND R60481), (SUB AR77751 AND AR77747 OR AR77753)
2 - Упорный подшипник AR73274 Engine Serial No.______-XXXXXX Примечание:0.76MM (0.030"), US (PKG R60482 AND R60483), (SUB AR77752 AND AR77753)
3 - Крышка подшипника R57158 Примечание:(Основной)
3 - Крышка подшипника R57159 Примечание:(Упорный)
4 - Шайба R70268 4 Примечание:(SUB FOR R42363)
5 - Болт R42365 4
6 - Упорная шайба AR77747 Engine Serial No.XXXXXX-______ Примечание:(PKG R62986), STDПосмотреть аналогичные детали
6 - Упорная шайба AR77753 Engine Serial No.XXXXXX-______ Примечание:0.18MM (0.007") OS, (PKG R63010 AND R62986), FLANGE
7 - Упорный подшипник AR77748 Engine Serial No.XXXXXX-______ Примечание:(PKG R62987 AND R62988), STDПосмотреть аналогичные детали
7 - Упорный подшипник AR77749 Engine Serial No.XXXXXX-______ Примечание:0.05MM (0.002"), US (PKG R63002 AND R63006)
7 - Упорный подшипник AR77750 Engine Serial No.XXXXXX-______ Примечание:0.25MM (0.010"), US (PKG R63003 AND R63007)
7 - Упорный подшипник AR77751 Engine Serial No.XXXXXX-______ Примечание:0.51MM (0.020"), US (PKG R63004 AND R63008)Посмотреть аналогичные детали
7 - Упорный подшипник AR77752 Engine Serial No.XXXXXX-______ Примечание:0.76MM (0.030"), US (PKG R63005 AND R63009)
8 - Подшипник AR74814 Примечание:(PKG R61289 AND R57584), STD (SUB FOR AR44625)Посмотреть аналогичные детали
8 - Подшипник AR74815 Примечание:0.05MM (0.002"), US (PKG R61608 AND R60472), (SUB FOR AR46399)
8 - Подшипник AR74816 Примечание:0.25MM (0.010"), US (PKG R61609 AND R60473), (SUB FOR AR46400)Посмотреть аналогичные детали
8 - Подшипник AR74817 Примечание:0.51MM (0.020"), US (PKG R61610 AND R60474), (SUB FOR AR46401)Посмотреть аналогичные детали
8 - Подшипник AR74818 Примечание:0.76MM (0.030"), US (PKG R61611 AND R60475), (SUB FOR AR46402)
Наверх
Crankshaft Oil Seal and Housing - ST427899 ( Уплотнение масла кривошина и жилищно - )
![Джон Дир 8430 Crankshaft Oil Seal and Housing Crankshaft Oil Seal and Housing]()
1 - Винт с головкой R47074 Количество:6
2 - Шайба T27860 Количество:6 Engine Serial No.243506-______ Примечание:8.740 X 17.500 X 1.664 mm (11/32" X 0.689" X 0.066")
3 - Корпус R41406 Engine Serial No.______-243505 Примечание:(SUB R125027 AND (6) T27860)
3 - Корпус R125027 Engine Serial No.243506-______ Примечание:(SUB FOR R41406, R78124 OR R115050)
4 - Прокладка R26058
5 - Сальник RE22764 Примечание:(SUB FOR RE17352)Посмотреть аналогичные детали
5 - Сальник RE520036 Примечание:(SUB FOR RE22764)Посмотреть аналогичные детали
6 - Сальник RE17352 Примечание:(SUB RE22764) (SUB FOR AR63095 OR RE14953)
Наверх
Timing Gear Cover And Oil Seal - ST427900 ( Передняя Крышка Шестерни И Сальник - )
![Джон Дир 8430 Timing Gear Cover And Oil Seal Timing Gear Cover And Oil Seal]()
1 - Сальник AR49025 Посмотреть аналогичные детали
2 - Прокладка R50353
3 - Крышка R50352 Примечание:(8430)
3 - Крышка R67379 Примечание:(WHEN USED WITH AR87494 ALSO ORDER AR96480, AR89151, R79915 AND T22404, APPL) (8440)
4 - Ниппель с резьбой R50354
5 - Прокладка T20328
6 - Колпачок T20294
7 - Шпилька R50355 Примечание:(SUB 19H1905 AND 12H303, APPL)
8 - Стопорная шайба 12H303 Примечание:5/16", (USE WITH 19H1905)
8 - Стопорная шайба 12H303 3 Примечание:5/16", (NO LONGER REQUIRED)
9 - Гайка 14H785 Примечание:5/16"
10 - Винт с головкой 19H1905 Примечание:5/16" X 1"
11 - Винт с головкой 19H1907 Количество:5 Примечание:5/16" X 2-3/4"
12 - Крышка R50393
13 - Прокладка R50390
14 - Винт с головкой 19H2713 Количество:6 Примечание:5/16" X 1-7/8"
15 - Шайба 24H1136 Количество:6 Примечание:11/32" X 11/16" X 0.065"
15 - Шайба 24H1136 Количество:2 Примечание:11/32" X 11/16" X 0.065", (USE WITH 19H3552)
16 - Винт с головкой 19H3552 Количество:2 Engine Serial No.______-XXXXXX Примечание:5/16" X 1-1/2"
16 - Винт R104859 Количество:2 Engine Serial No.XXXXXX-______
Наверх
Engine Oil Pump (Camshaft Driven) - ST427901 ( Двигатель Масляного Насоса (Приводной Вал) - )
![Джон Дир 8430 Engine Oil Pump (Camshaft Driven) Engine Oil Pump (Camshaft Driven)]()
1 - Передача R64568
2 - Уплотнительное кольцо R71732 Примечание:(SUB FOR R50378)
3 - Шайба M72490 Количество:2 Примечание:(SUB FOR R42729)
4 - Винт с головкой R38614 Количество:2
5 - Ось R42390
6 - Корпус AR69108 Примечание:(MARKED R57556)
7 - Комплект AR77494 Примечание:(MARKED R57556) (SUB AR69108) (ALSO ORDER (2) R38614 AND (2) M72490)
8 - Передача AR71123
9 - Винт с головкой 19H1905 Количество:3 Примечание:5/16" X 1"
10 - Стопорная шайба 12H303 Количество:3 Примечание:5/16"
11 - Крышка R58669
12 - Прокладка R52049
13 - Впуск масляного насоса AR56639
14 - Винт R46567 Количество:4
15 - Масляный насос AR77493 Примечание:(SUB AR69109 AND (2) R38614) (MARKED R57556)
15 - Масляный насос AR69109 Примечание:(MARKED R57556) (SUB SE500885)
15 - Масляный насос восст. SE500885 Примечание:(REMANUFACTURED FOR AR69109)
Наверх
Replacement Engine Oil Pump - ST427902 ( Замена Масляный Насос Двигателя )
![Джон Дир 8430 Replacement Engine Oil Pump Replacement Engine Oil Pump]()
1 - Передача R64568
2 - Уплотнительное кольцо R71732
3 - Ось R42390
4 - Корпус AR69108 Примечание:(MARKED R57556)
5 - Винт R46567 Количество:4
6 - Передача AR71123
7 - Винт с головкой 19H1905 Количество:3 Примечание:5/16" X 1"
8 - Стопорная шайба 12H303 Количество:3 Примечание:5/16"
9 - Крышка R58669
10 - Прокладка R52049
11 - Впуск масляного насоса AR56639
12 - Масляный насос AR69109 Примечание:(MARKED R57556) (SUB SE500885)
12 - Масляный насос восст. SE500885 Примечание:(REMANUFACTURED FOR AR69109)
Наверх
Engine Oil Pump (Crankshaft Driven) (Early Design) - ST427903 ( Двигатель Масляного Насоса (Приводится Коленвалом) (Начало Проектирования) - )
![Джон Дир 8430 Engine Oil Pump (Crankshaft Driven) (Early Design) Engine Oil Pump (Crankshaft Driven) (Early Design)]()
1 - Втулка R62930 Количество:2
2 - Шайба T21242
3 - Гайка 14H826 Примечание:1/2", (SUB FOR R79187, APPL)
4 - Шайба R57696 Количество:4
5 - Винт с головкой 19H3219 Количество:2 Примечание:3/8" X 1-3/8"
6 - Винт с головкой 19H2549 Количество:2 Примечание:3/8" X 1-7/8"
7 - Передача R62938
8 - Щиток ....... Примечание:(AR77713 NLR)
9 - Стопорная шайба ....... Количество:2 Примечание:(NLR THIS LOCATION)
10 - Винт с головкой ....... Количество:2 Примечание:(NLR THIS LOCATION)
11 - Гайка 14H785 Примечание:5/16"
12 - Установочный винт 22H1040 Примечание:5/16" X 1-1/4"
13 - Шайба M72490 Количество:5 Примечание:(SUB FOR R70234 OR R42729)
14 - Винт с головкой 19H2733 Количество:2 Примечание:3/8" X 2-3/8"
15 - Уплотнительное кольцо R71732 Количество:2
16 - Винт с головкой 19H1765 Количество:3 Примечание:3/8" X 1-3/4"
17 - Масляный насос AR99341 Примечание:(Used with R62954, Also order R119364) ((SHORT BLOCK SERIAL NO. 530501-)) (MARKED R62946) (SUB FOR AR96190) (SUB RE60622, RE42637 AND R100569)
17 - Масляный насос AR99341 Примечание:(Used with R62954, Also order R119364) ((SHORT BLOCK SERIAL NO. 530501-)) (MARKED R62946) (SUB FOR AR96190) (SUB RE60622, RE53510 AND R100569)
17 - Масляный насос RE60622 Примечание:(MARKED R124328) (SUB SE501063)
17 - Масляный насос восст. SE501063 Примечание:MARKED R124328 OR R62946; REMAN FOR RE60622
18 - Прокладка R52049
19 - Впуск масляного насоса AR56639 Примечание:(USE WITH AR99341 OR AR96190)
20 - Стопорная шайба 12H303 Количество:3 Примечание:5/16"
21 - Винт с головкой 19H1905 Количество:3 Примечание:5/16" X 1"
Наверх
Short Block Conversion Kit - ST427904 ( Короткий Набор Преобразования Блока )
![Джон Дир 8430 Short Block Conversion Kit Short Block Conversion Kit]()
1 - Шайба R57696 Количество:4
2 - Винт с головкой 19H2549 Количество:2 Примечание:3/8" X 1-7/8"
3 - Винт с головкой 19H3219 Количество:2 Примечание:3/8" X 1-3/8"
4 - Шайба T21242
5 - Гайка 14H826 Примечание:1/2"
6 - Передача R62938
7 - Щиток ....... Примечание:(AR77713 NLR)
8 - Стопорная шайба ....... Количество:2 Примечание:(NLR)
9 - Винт с головкой ....... Количество:2 Примечание:(NLR)
10 - Корпус RE29234 Примечание:(SUB FOR AR80682)
11 - Масляный насос AR99341 Примечание:(MARKED R62946) (SUB FOR AR96190) (SUB RE60622 AND RE53510)
11 - Масляный насос RE60622 Примечание:(MARKED R124328) (SUB SE501063)
11 - Масляный насос восст. SE501063 Примечание:(REMANUFACTURED) (MARKED R62946 OR R124328)
12 - Установочный винт 22H1040 Примечание:5/16" X 1-1/4"
13 - Гайка 14H785 Примечание:5/16"
14 - Шайба M72490 Примечание:(SUB FOR R70234 OR R42729)
15 - Винт с головкой 19H2733 Количество:2 Примечание:3/8" X 2-3/8"
16 - Винт с головкой 19H1765 Количество:3 Примечание:3/8" X 1-3/4"
17 - Уплотнительное кольцо R71732 Количество:2
18 - Масляная трубка R62952
19 - Уплотнительное кольцо U17409
20 - Корпус R78134
21 - Трубная гайка R65683
22 - Уплотнительное кольцо U13639
23 - Корпус R62954 Примечание:(SUB R78134)
24 - Фитинг переходника R54123 Примечание:(COOLANT HEATER)
25 - Комплект AR103298 Примечание:(SUB RG23553 AND RE53510)
Наверх
Short Block Conversion Kit - ST427905 ( Короткий Набор Преобразования Блока )
![Джон Дир 8430 Short Block Conversion Kit Short Block Conversion Kit]()
1 - Гайка 14H826 Примечание:1/2"
2 - Шайба T21242
3 - Передача R62938
4 - Шайба R57696 Количество:4
5 - Винт с головкой 19H2549 Количество:2 Примечание:3/8" X 1-7/8"
6 - Винт с головкой 19H3219 Количество:2 Примечание:3/8" X 1-3/8"
7 - Винт R104628 Количество:2
7 - Винт R104628 Количество:3 Примечание:(OIL PUMP INTAKE TO COVER)
8 - Уплотнительное кольцо R71732
9 - Установочный винт 22H1040 Примечание:5/16" X 1-1/4"
10 - Гайка 14H785 Примечание:5/16"
11 - Масляный насос RE44118 Примечание:(MARKED R62946) (SUB RE60622)
12 - Корпус RE29234
13 - Прокладка R100569
14 - Фитинг переходника R54123 Примечание:(COOLANT HEATER)
15 - Уплотнительное кольцо .......
16 - Корпус R78134
17 - Уплотнительное кольцо R71732
18 - Масляная трубка R62952
19 - Комплект RG23553
Примечание:(8430 OR 8440 - ALSO ORDER RE42637) (SUB FOR AR103298)
Наверх
Engine Oil Cooler Bypass Valve (Early Design) - ST427906 ( Охладитель Моторного Масла Перепускной Клапан (Начало Проектирования) - )
![Джон Дир 8430 Engine Oil Cooler Bypass Valve (Early Design) Engine Oil Cooler Bypass Valve (Early Design)]()
1 - Уплотнительное кольцо R71732 Количество:4 Примечание:(SUB FOR R50378)
2 - Масляная трубка R50381
3 - Трубная гайка R65683 Примечание:(SUB FOR R50379)
4 - Прокладка R65055
5 - Клапан R49464
6 - Пружина R26151
7 - Уплотнительное кольцо U17409
8 - Пружинный шплинт 34H313 Примечание:1/4" X 1-1/8"
9 - Пробка сливного отверстия R49465
10 - Масляная трубка R50386
11 - Корпус R50384
12 - Винт с головкой R40236 Количество:2
13 - Уплотнительное кольцо U13639
Наверх
Oil Cooler Bypass Valve - ST427907 ( Масляный Радиатор Перепускной Клапан - )
![Джон Дир 8430 Oil Cooler Bypass Valve Oil Cooler Bypass Valve]()
1 - Корпус R62954 Engine Serial No.______-231771 Примечание:(SUB R78134)
2 - Уплотнительное кольцо U13639 Engine Serial No.______-231771
3 - Трубная гайка R65683 Engine Serial No.______-231771
4 - Винт с головкой R40236 Количество:2
5 - Корпус R78134 Engine Serial No.231772-______
6 - Прокладка R65055
7 - Клапан R49464
8 - Пружина R26151
9 - Уплотнительное кольцо U17409
10 - Пружинный шплинт 34H313 Примечание:1/4" X 1-1/8"
11 - Пробка сливного отверстия R49465
12 - Уплотнительное кольцо R71732 Количество:4
13 - Масляная трубка R50386
14 - Масляная трубка R62952
Наверх
Engine Oil Filter - ST427908 ( Масляный Фильтр Двигателя - )
![Джон Дир 8430 Engine Oil Filter Engine Oil Filter]()
1 - Трубная заглушка 15H690 Количество:2 Примечание:3/4"
2 - Трубная заглушка R104592 Engine Serial No.______-009833
3 - Пружинный шплинт 34H313 Примечание:1/4" X 1-1/8", (USE WITH R49465) (SUB FOR R86875, APPL)
4 - Пробка сливного отверстия R49465 Примечание:(SUB FOR R71483) (SUB R86875, APPL)
5 - Заглушка фитинга R86875
6 - Уплотнительное кольцо U17409 Engine Serial No.202959-______
7 - Пробка сливного отверстия AR105510 Engine Serial No.202959-______
8 - Корпус AR89499 Engine Serial No.______-202958 Примечание:(MARKED R59483, R62110 OR R67409) (SUB RE24706 AND R84947) (ALSO ORDER AR101137 AND R84947)
8 - Корпус AR94084 Engine Serial No.202959-______ Примечание:(MARKED R71484) (SUB FOR AR76582) (ALSO ORDER AR101137) (SUB RE24706, AR101137 AND R84947)
8 - Корпус RE24706 Примечание:(MARKED R84946)
9 - Коленчатый патрубок R67364 Engine Serial No.009834-______
10 - Клапан R49464
11 - Пружина R26151
12 - Уплотнительное кольцо U17409
13 - Крепление со штифтом 34H393 Примечание:7/16" X 1-1/8", (USE WITH R71483)
14 - Пробка сливного отверстия R71483 Примечание:(SUB R49465) (ALSO ORDER 34H313)
15 - Винт с головкой 19H1732 Примечание:3/8" X 1-1/4"
16 - Стопорная шайба 12H304 Примечание:3/8 дюйма
17 - Коленчатый патрубок 15H220 Engine Serial No.045803-______ Примечание:1/4", (8430)
18 - Сливной клапан AT13740 Engine Serial No.045803-______ Примечание:(8430)Посмотреть аналогичные детали
19 - Трубная заглушка R55233 Engine Serial No.______-045802 Примечание:(8430)
20 - Шпилька R106859 Примечание:(SUB FOR F3646R OR R26622, APPL)
21 - Шпилька R55395
22 - Прокладка R43774
23 - Упаковка R43660 Примечание:(USE WITH AR43261, AR43634 OR RE57394)
24 - Масляный фильтр AR43634 Примечание:(MARKED AR43261, AR43634) (USE WITH R43429)
24 - Масляный фильтр RE57394 Примечание:(MARKED RE57394) (SUB FOR AR101278 OR RE46380)Посмотреть аналогичные детали
25 - Клапан R77003 Примечание:(SUB FOR R43428) (USE WITH R59483, R62110, R62409 OR R71484)
26 - Клапан R84947 Примечание:(USE WITH R84946)
27 - Шайба U40750
28 - Пружина R43548
29 - Шайба R43424 Engine Serial No.______-202958
30 - Пробка сливного отверстия RE10834 Engine Serial No.______-202958 Примечание:(SUB FOR R43425)
31 - Масляный фильтр RE46380 Примечание:(MARKED RE46380) (SUB RE57394)Посмотреть аналогичные детали
32 - Фитинг R43429 Примечание:(1-1/2-16 UN), (USE WITH AR43634 OR AR43261)
32 - Фитинг переходника R104621 Примечание:(1-1/2-12 UNF), (SUB FOR R73913) (USE WITH AR98329, RE46380 OR RE57394)
33 - Фланцевая гайка E55662 Количество:2
34 - Фланцевая гайка E55662 Количество:2
Наверх
Engine Oil Cooler - ST427910 ( Охладитель Моторного Масла - )
![Джон Дир 8430 Engine Oil Cooler Engine Oil Cooler]()
1 - Шпилька R50375 Количество:2 Engine Serial No.______-127033 Примечание:5/16" X 3", (SUB 19H1907)
2 - Стопорная шайба 12H303 Количество:8 Примечание:5/16"
3 - Гайка 14H785 Количество:2 Engine Serial No.______-127033 Примечание:5/16"
4 - Винт с головкой 19H1921 Примечание:5/16" X 3-1/4"
5 - Винт с головкой 19H1907 Количество:3 Engine Serial No.______-127033 Примечание:5/16" X 2-3/4"
5 - Винт с головкой 19H1907 Количество:5 Engine Serial No.127034-______ Примечание:5/16" X 2-3/4"
6 - Винт с головкой 19H1904 Количество:2 Примечание:5/16" X 3"
7 - Крышка R50421
8 - Распорная втулка R50418
9 - Прокладка AR58952 Количество:2
10 - Прокладка R520547
11 - Маслоохладитель AT25038
12 - Фитинг переходника R50423
13 - Уплотнительное кольцо R47153 Количество:4 Примечание:(SUB FOR R50420, APPL)
14 - Прокладка R520546
15 - Масляная трубка R50422 Количество:2
16 - Стопорная шайба 12H304 Количество:2 Примечание:3/8 дюйма
17 - Винт с головкой 19H1732 Количество:2 Примечание:3/8" X 1-1/4"
Наверх
Water Pump - ST427911 ( Водяной Насос - )
![Джон Дир 8430 Water Pump Water Pump]()
1 - Прокладка R42406
2 - Винт с головкой 19H1813 Engine Serial No.044590-______ Примечание:5/16" X 5/8"
3 - Разъемный хомут R66180 Engine Serial No.044590-______
4 - Пластина R66181 Engine Serial No.044590-______
5 - Стопорная шайба 12H303 Engine Serial No.044590-______ Примечание:5/16"
6 - Гайка 14H785 Engine Serial No.044590-______ Примечание:5/16"
7 - Трубная заглушка 15H666 Engine Serial No.______-047678 Примечание:3/8 дюйма
8 - Трубная заглушка 15H623 Engine Serial No.047679-______ Примечание:3/8 дюйма
9 - Тройник L1836N Engine Serial No.047679-______
10 - Винт с головкой 19H1875 Количество:4 Примечание:5/16" X 1-3/4"
11 - Стопорная шайба 12H303 Количество:4 Примечание:5/16"
12 - Корпус R58714
13 - Прокладка R58715
14 - Крыльчатка R58716
15 - Комплект уплотнений AR41691 Примечание:(SUB AR101549)
16 - Сальник T27261 Примечание:(SUB AR101549)
17 - Сальник AR62934 Примечание:(SUB AR101549)
18 - Комплект уплотнений AR101549 Посмотреть аналогичные детали
19 - Фитинг шланга R40083
20 - Шариковый подшипник JD9257
21 - Шкив R58719
22 - Винт с головкой 19H2284 Количество:6 Примечание:3/8" X 7/8"
23 - Винт с головкой 19H1944 Количество:4 Примечание:3/8" X 2-3/4"
24 - Стопорная шайба 12H304 Количество:4 Примечание:3/8 дюйма
25 - Водяной насос AR70661 Примечание:(MARKED R58713) (SUB SE500916 AND R58719)
25 - Водяной насос восст. SE500916 Примечание:(SUB FOR AR70661, RG12310, AR89716, AR97881, RE10969, RE20022 OR TY6758) (ALSO ORDER R58719) (REMAN FOR AR70661)
Наверх
Fan And V-Belt - ST427912 ( Вентилятор И V-Пояс - )
![Джон Дир 8430 Fan And V-Belt Fan And V-Belt]()
1 - Вентилятор AR70712
2 - Винт с головкой 19H2284 Количество:6 Примечание:3/8" X 7/8"
3 - Набор ремня AR74662 Примечание:(MATCHED SET) (SUB RE29018)
Наверх
Engine Coolant Heater - ST427913 ( Двигателя Охлаждающей Жидкости Нагреватель - )
![Джон Дир 8430 Engine Coolant Heater Engine Coolant Heater]()
1 - Кольцо R47692
2 - Уплотнительное кольцо R31378
3 - Прокладка R47693 Примечание:(SUB R206883)
4 - Обогреватель AR50399 Примечание:(SUB RE29408)
5 - Шнур электропитания AR50411
6 - Уплотнительное кольцо R30200
7 - Нагреватель охл. жидкости RE29408
8 - Нагреватель охл. жидкости AR50518
Наверх
Engine Coolant Heater - ST427914 ( Двигателя Охлаждающей Жидкости Нагреватель - )
![Джон Дир 8430 Engine Coolant Heater Engine Coolant Heater]()
1 - Шнур электропитания AR87079 Примечание:(220-VOLT)
2 - Кольцо R47692
3 - Уплотнительное кольцо R31378
4 - Прокладка R47693 Примечание:(SUB R206883)
5 - Обогреватель AR103807 Примечание:(220-VOLT), (SUB FOR AR86499) (SUB RE504121)
6 - Обогреватель AR86500 Примечание:(NLA)
Наверх
Radiator - ST427915 ( Радиатор - )
![Джон Дир 8430 Radiator Radiator]()
1 - Крышка R27209
2 - Колпачок AR28482
3 - Наливная горловина RE15427
3 - Шланг без конц. арматуры TY22324 Примечание:(OVERFLOW) (SUB FOR R82454)
4 - Изолятор R58398
5 - Подушка ....... Примечание:3 X 38 X 110 MM (1/8" X 1-1/2" X 4-7/16"), (MAKE FROM R21736)
6 - Подушка ....... Примечание:51 X 51 X 114 MM (2" X 2" X 4-1/2"), (MAKE FROM R35340)
7 - Радиатор AR73260 Примечание:(SUB RE21561)
8 - Подушка ....... Количество:4 Примечание:13 X 25 X 610 MM (1/2" X 1" X 24"), (MAKE FROM R30936)
9 - Винт с головкой 19H3181 Количество:2 Примечание:3/8" X 2"
10 - Шайба 24H1309 Количество:2 Примечание:13/32" X 1-1/16" X 0.120"
11 - Пружина F2411R Количество:2
12 - Распорная втулка R26417 Количество:2
13 - Изолятор R58400 Количество:2
14 - Сливной клапан AT13740 Посмотреть аналогичные детали
15 - Скоба AR62936 Количество:5
16 - Шланг R57628 Tractor Serial No.______-002853 Примечание:(SUB R63696)
16 - Шланг R63696 Tractor Serial No.002854-______
17 - Трубка R62159 Примечание:(SUB FOR R57626)
18 - Шланг R62891 Примечание:TO WATER PUMP (SUB FOR R57389) (SUB TY22437)
19 - Шланговый зажим AR21999 Количество:3
20 - Подушка ....... Примечание:25 X 25 X 690 MM (1" X 1" X 27-3/32"), (MAKE FROM R30937)
21 - Шланг R57388 Примечание:TO WATER MANIFOLD
22 - Скоба TY22470 Количество:3 Примечание:(SUB FOR AR21840)
23 - Линия R57387
24 - Шланг R62286 Примечание:(SUB FOR R57393)
Наверх
Radiator Baffle And Cushion Kit - ST427917 ( Дефлектор Радиатора И Подушка Комплект )
![Джон Дир 8430 Radiator Baffle And Cushion Kit Radiator Baffle And Cushion Kit]()
1 - Трак R62809
2 - Подушка ....... Примечание:3 X 38 X 110 MM (1/8" X 1-1/2" X 4-7/16"), (MAKE FROM R21736)
3 - Подушка ....... Примечание:51 X 51 X 114 MM (2" X 2" X 4-1/2"), (MAKE FROM R35340)
4 - Подушка ....... Количество:4 Примечание:13 X 25 X 610 MM (1/2" X 1" X 24"), (MAKE FROM R30936)
5 - Изолятор R58400 Количество:2
6 - Подушка ....... Примечание:25 X 25 X 690 MM (1" X 1" X 27-3/32"), (MAKE FROM R30937)
7 - Подъемный вал AR91036
Наверх
Fan Shroud Extension And Front Hood Support - ST427918 ( Кожух Вентилятора Расширение И Передний Капот Поддержка - )
![Джон Дир 8430 Fan Shroud Extension And Front Hood Support Fan Shroud Extension And Front Hood Support]()
1 - Винт с головкой 19H2284 Количество:6 Tractor Serial No.______-001441 Примечание:3/8" X 7/8"
1 - Винт с головкой 19H1732 Количество:6 Tractor Serial No.001442-______ Примечание:3/8" X 1-1/4"
2 - Стопорная шайба 12H304 Количество:6 Примечание:3/8 дюйма
3 - Винт с головкой 19H2021 Количество:2 Tractor Serial No.______-001441 Примечание:3/8" X 5/8"
3 - Винт с головкой 19H1731 Количество:2 Tractor Serial No.001442-______ Примечание:3/8" X 1"
4 - Стопорная шайба 12H304 Количество:2 Примечание:3/8 дюйма
5 - Гайка 14H1076 Количество:6 Tractor Serial No.001442-______ Примечание:3/8 дюйма
6 - Опора AR68467 Примечание:FAN SHROUD (NLA)
7 - Винт с головкой 19H1731 Количество:2 Примечание:3/8" X 1"
8 - Стопорная шайба 12H304 Количество:2 Примечание:3/8 дюйма
9 - Опора AR69788 Примечание:Вентиляционная труба
10 - Хомут R58306 Количество:2 Tractor Serial No.______-001441 Примечание:(SUB (2) R62079, (6) 19H1732, (2) 19H1731, (8) 12H304 AND (8) 14H1076)
10 - Хомут R62079 Количество:2 Tractor Serial No.001442-______
11 - Винт с головкой 19H2021 Количество:2 Примечание:3/8" X 5/8"
12 - Стопорная шайба 12H304 Количество:2 Примечание:3/8 дюйма
13 - Шайба 24H1305 Количество: 10 Примечание:13/32" X 13/16" X 0.065"
14 - Гайка 14H1076 Количество:7 Примечание:3/8 дюйма
15 - Стопорная шайба 12H304 Количество:7 Примечание:3/8 дюйма
16 - Опора AR68956
17 - Винт с головкой 19H1765 Примечание:3/8" X 1-3/4"
18 - Скоба AR69930 Примечание:(SUB AR91977)
19 - Стопорная шайба 12H304 Количество:4 Примечание:3/8 дюйма
20 - Винт с головкой 19H1936 Количество:6 Примечание:3/8" X 3/4"
21 - Подушка ....... Количество:2 Примечание:25 X 38 X 102 MM (1" X 1-1/2" X 4"), (MAKE FROM R91749) (SUB FOR R35416)
22 - Стопорная шайба 12H304 Количество:2 Примечание:3/8 дюйма
23 - Винт с головкой 19H1731 Количество:2 Примечание:3/8" X 1"
24 - Хомут R57478 Количество:2
25 - Винт с головкой 19H1732 Количество:4 Примечание:3/8" X 1-1/4"
26 - Ручка AR70882
27 - Изолятор R58284
28 - Кожух R58889
29 - Гайка 14H786 Количество:24 Примечание:1/4 дюйма
30 - Стопорная шайба 12H302 Количество:24 Примечание:1/4 дюйма
31 - Винт с головкой 19H1227 6 Примечание:1/4" X 1/2"
32 - Винт с головкой 19H1948 Количество:8 Примечание:1/4" X 3/4"
Наверх
Fan Guard - ST427919 ( Вентилятор Гвардии )
![Джон Дир 8430 Fan Guard Fan Guard]()
1 - Ограждение R63859
2 - Гайка 14H786 Количество:6 Примечание:1/4 дюйма
3 - Стопорная шайба 12H302 Количество:6 Примечание:1/4 дюйма
4 - Винт с головкой 19H1948 Количество:6 Примечание:1/4" X 3/4"
Наверх
Water Manifold And Thermostats - ST427920 ( Водяной Коллектор И Термостаты - )
![Джон Дир 8430 Water Manifold And Thermostats Water Manifold And Thermostats]()
1 - Коллектор R50415 Engine Serial No.______-227532 Примечание:(SUB R78123, R82719 OR R77673)
2 - Шланг радиатора R50402 Примечание:(SUB FOR R47430)
3 - Скоба TY22467 Количество:6 Примечание:(SUB FOR AR21839)
4 - Линия R61128
5 - Шланг A5203R Примечание:22MM X 76MM (7/8" X 3") (20R2)
6 - Фитинг переходника R48362
7 - Стопорная шайба 12H304 Количество:7 Примечание:3/8 дюйма
8 - Винт с головкой 19H3219 Количество:4 Примечание:3/8" X 1-3/8"
9 - Заглушка фитинга R82719 Engine Serial No.227533-______ Примечание:(SUB FOR R27094, APPL)
10 - Уплотнительное кольцо R77673 Engine Serial No.227533-______
11 - Коллектор RE12848 Engine Serial No.227533-______ Примечание:(MARKED R78123) (SUB INDIVIDUAL PARTS)
12 - Термостат AR48675 Количество:2 Посмотреть аналогичные детали
13 - Прокладка R124607 Примечание:(SUB FOR R46479)
14 - Крышка R53423 Engine Serial No.______-XXXXXX
14 - Крышка R58721 Engine Serial No.XXXXXX-______
15 - Винт с головкой 19H1733 Примечание:3/8" X 2-1/2"
16 - Фитинг R49518
17 - Шланг R58718 Примечание:(SUB TY22404)
17 - Шланг TY22404 Примечание:(BULK)
18 - Фитинг шланга R40083
19 - Винт с головкой 19H2128 Количество:2 Примечание:3/8" X 3"
20 - Прокладка R88397 Количество:2 Примечание:(SUB FOR R42693)
Наверх
Engine Coolant Conditioner Filter Kit - ST427921 ( Охлаждающей Жидкости Двигателя Фильтр Кондиционера Комплект )
![Джон Дир 8430 Engine Coolant Conditioner Filter Kit Engine Coolant Conditioner Filter Kit]()
1 - Трубная заглушка 15H623 Примечание:3/8 дюйма
2 - Тройник L1836N
3 - Фитинг R68199
4 - Уплотнительная шайба R67092 Количество:4
5 - Фитинг R72144 Количество:4
6 - Коническая втулка R72143 Количество:4
7 - Линия AR94768 Примечание:KIT, OUTLET LINE (SUB FOR AR95771) (ALSO ORDER R72143 AND R72144)
8 - Винт с головкой 19H1732 Количество:4 Примечание:3/8" X 1-1/4"
9 - Стопорная шайба 12H304 Количество:4 Примечание:3/8 дюйма
10 - Шайба 24H1298 Примечание:3/8" X 5/8" X 0.032"
11 - Щиток R72095
12 - Кронштейн R68196
13 - Стопорная шайба 12H303 Количество:2 Примечание:5/16"
14 - Винт с головкой 19H1904 Количество:2 Примечание:5/16" X 3"
15 - База AR87111
16 - Фитинг R67803 Количество:2
17 - Комплект AR95769 Примечание:KIT, INLET LINE (SUB AR94767, R72143 AND R72144)
17 - Маслопровод AR94767
18 - Фильтр AR94650 Примечание:(COOLANT FILTER W/COOLANT CONDITIONER) (SUB RE11992)
18 - Фильтр охлажд. жидкости RE11992 Примечание:(COOLANT FILTER WITHOUT COOLANT CONDITIONER) (SUB FOR AR89379, AR89381 OR AR94650)
19 - Клапан AR94769
20 - Комплект AR95768 Примечание:KIT, INLET LINE (SUB AR94765, R72143 AND R72144)
20 - Маслопровод AR94765
21 - Сливной клапан AT13740 Посмотреть аналогичные детали
22 - Тройник R76710 Примечание:(SUB FOR R67130)
23 - Комплект AR95770 Примечание:KIT, OUTLET LINE (SUB AR94766, R72143 AND R72144)
24 - Комплект AR94764 Примечание:(COOLANT FILTER WITH COOLANT CONDITIONER) (SUB RE63678)
24 - Компл. пров. охл. жидк. RE63678 Примечание:(COOLANT FILTER WITHOUT COOLANT CONDITIONER) (SUB FOR AR91956 AND AR94764)
Наверх
Coolant Temperature Sender - ST427923 ( Датчик Температуры ОЖ - )
![Джон Дир 8430 Coolant Temperature Sender Coolant Temperature Sender]()
1 - Гайка 14H631 Примечание:0.190"
2 - Шайба 12M7060 Примечание:5.300 mm
3 - Датч. темп. охл. ж. дв. AR58233 Примечание:(SUB AT37368)
Наверх
Engine Gasket Kits - ST427924 ( Комплекты Прокладок Двигателя - )
![Джон Дир 8430 Engine Gasket Kits Engine Gasket Kits]()
1 - Прокладка R97346 Примечание:(SUB FOR R47395)
2 - Прокладка R97347 Количество:2 Примечание:(SUB FOR R50399)
3 - Уплотнительное кольцо R52811 Количество:2
4 - Уплотнительное кольцо R50405
5 - Уплотнительное кольцо R50406
6 - Прокладка R105346 Примечание:(SUB FOR R43416 OR R97349)
7 - Прокладка R97348 Примечание:(SUB FOR R43413)
8 - Прокладка R43751
9 - Уплотнительное кольцо R72328
10 - Уплотнительное кольцо R495R
11 - Уплотнительное кольцо R51603 Количество:6
12 - Прокладка R83020 Количество:2 Примечание:(SUB FOR R44373)
13 - Прокладка R50397 Количество:3
14 - Прокладка R130573 Количество:3 Примечание:(SUB FOR R87316 OR R102838)
15 - Прокладка R83021 Количество:2 Примечание:(SUB FOR R44374)
16 - Прокладка R124607 Примечание:(SUB FOR R46479) (8430)
17 - Прокладка R81274 Примечание:(SUB FOR R49488)
18 - Прокладка R88397 Количество:2 Примечание:(SUB FOR R42693)
19 - Прокладка R49866 Примечание:(SUB FOR R32593)Посмотреть аналогичные детали
20 - Фитинг R87082 Количество:6
21 - Уплотнительное кольцо R77551 Количество:6
22 - Шайба R64840 Количество:6
23 - Прокл. гол. цил. двигат. RE47336 Примечание:(SUB FOR R55182, RE34010 OR R80026)Посмотреть аналогичные детали
24 - Прокладка R43595
25 - Комплект прокладок RG22247 Примечание:(SUB FOR AR72078 OR AR98851)Посмотреть аналогичные детали
26 - Уплотнительное кольцо R47153 Количество:6 Примечание:(SUB FOR (4) R50420)
27 - Уплотнительное кольцо U13639 Количество:2
28 - Прокладка R42406 Примечание:(8430)
29 - Прокладка R50353 Примечание:(8430)
30 - Прокладка T20328
31 - Прокладка R71314
32 - Прокладка R71315
33 - Прокладка R50390
34 - Прокладка R65055
35 - Уплотнительное кольцо R71732 Количество:4 Примечание:(SUB FOR R50378)
36 - Прокладка R71918 Примечание:(SUB FOR R53282)Посмотреть аналогичные детали
37 - Прокладка .......
38 - Прокладка R52049
39 - Прокладка R97350 Примечание:(SUB FOR R27285)
40 - Прокладка R71312 Примечание:(8430)
41 - Прокладка R43774
42 - Прокладка R62410
43 - Прокладка R26058
44 - Прокладка R53108
45 - Прокладка AR58952 Количество:2 Примечание:(CONSISTS OF (2) R50417)
46 - Прокладка R520547
47 - Прокладка R520546
48 - Комплект уплотн. колец AR98850 Количество:6 Примечание:(NO LONGER INCLUDED)Посмотреть аналогичные детали
49 - Прокладка R86062
50 - Сальник R100911
51 - Комплект прокладок RG27877 Примечание:ENGINE REBUILD, (SUB FOR AR72077, AR96201 OR AR98845)Посмотреть аналогичные детали
Наверх
Engine Overhaul Kit - ST427925 ( Капитальный Ремонт Двигателя Комплект )
![Джон Дир 8430 Engine Overhaul Kit Engine Overhaul Kit]()
1 - Компл. для рем. двигат. RE60289 Примечание:(ORIGINAL ENGINE AND SHORT BLOCK SERIAL NO. (-572026) AND CONNECTING RODS MARKED R57303) (CONTAINS (6) RE60288 PISTON LINERS, GASKET KIT, STD BEARINGS, FRONT/REAR SEALS AND SNAP RINGS) (ALSO ORDER (12) R66452 ROD BOLTS), (SUB FOR RG18845)
1 - Компл. для рем. двигат. RG27909 Примечание:(SHORT BLOCK SERIAL NO. (572027-) AND CONNECTING RODS MARKED R71074) (CONTAINS (6) RE60284 PISTON LINERS, GASKET KIT, STD BEARINGS, FRONT/REAR SEALS AND SNAP RINGS) (ALSO ORDER (12) R66452 ROD BOLTS), (SUB FOR RG20142 OR RE60285)
Наверх
Replacement Engine Short Block - ST427926 ( Замена Короткого Блока Двигателя - )
![Джон Дир 8430 Replacement Engine Short Block Replacement Engine Short Block]()
1 - Узел короткого блока RE65075 Примечание:(MARKED R122735) (INCLUDES (26) HEAD BOLTS)
Наверх
Complete Block Assembly - ST427927 ( Полный Блок В Сборе - )
![Джон Дир 8430 Complete Block Assembly Complete Block Assembly]()
1 - Завершение сборки блока RG23047 Engine Serial No.______-022395 Примечание:(EARLY ENGINES W/ RE50384 OR R62954 OIL COOLER BYPASS HOUSING AND CAM DRIVEN OIL PUMP) (SUB SE500033) (ALSO ORDER RE53510, R119364, (4) R57696, (2) 19H2549, (2) 19H3219, R62938, T21242, R79187 AND RE29234)
1 - Базов. диз. двиг. восст. SE500033 Engine Serial No.______-022395 Примечание:(BASIC)
1 - Завершение сборки блока RG23047 Engine Serial No.022396-______ Примечание:(LATE ENGINES WITH R78134 OIL COOLER BYPASS HOUSING) (ALSO ORDER RE53510, APPL), (SUB SE500034) (ALSO ORDER RE42637)
1 - Базов. диз. двиг. восст. SE500034 Engine Serial No.022396-______ Примечание:(BASIC)
Наверх
Engine Underhaul Kit - ST427928 ( Двигатель Комплект Underhaul - )
![Джон Дир 8430 Engine Underhaul Kit Engine Underhaul Kit]()
1 - Комплект RG23426 Примечание:(INCLUDES BEARINGS, OIL PAN GASKET, AND SPLIT GASKETS) (SUB FOR RG22789)
Наверх